TMS320DM642AGDKA6
IC FIXED-POINT DSP 548-FCBGA
1 TMS320DM642 Video/Imaging Fixed-Point Digital Signal Processor
• High-Performance Digital Media Processor
– 2-, 1.67-, 1.39-ns Instruction Cycle Time
– 500-, 600-, 720-MHz Clock Rate
– Eight 32-Bit Instructions/Cycle
– 4000, 4800, 5760 MIPS
– Fully Software-Compatible With C64x™
• VelociTI.2™ Extensions to VelociTI™ Advanced Very-Long-Instruction-Word (VLIW) TMS320C64x™ DSP Core
– Eight Highly Independent Functional Units With VelociTI.2™ Extensions:
• SixALUs (32-/40-Bit), Each Supports Single 32-Bit, Dual 16-Bit, or Quad 8-Bit Arithmetic per Clock Cycle
• TwoMultipliers Support Four 16 x 16-Bit Multiplies (32-Bit Results) per Clock Cycle or Eight 8 x 8-Bit Multiplies (16-Bit Results) per Clock Cycle
– Load-Store Architecture With Non-Aligned Support
– 64 32-Bit General-Purpose Registers
– Instruction Packing Reduces Code Size
– All Instructions Conditional
• Instruction Set Features
– Byte-Addressable (8-/16-/32-/64-Bit Data)
– 8-Bit Overflow Protection
– Bit-Field Extract, Set, Clear
– Normalization, Saturation, Bit-Counting
– VelociTI.2™ Increased Orthogonality
• L1/L2 Memory Architecture
– 128K-Bit (16K-Byte) L1P Program Cache (Direct Mapped)
– 128K-Bit (16K-Byte) L1D Data Cache (2-Way Set-Associative)
– 2M-Bit (256K-Byte) L2 Unified Mapped RAM/Cache (Flexible RAM/Cache Allocation)
• Endianess: Little Endian, Big Endian
• 64-Bit External Memory Interface (EMIF)
– Glueless Interface to Asynchronous Memories (SRAM and EPROM) and Synchronous Memories (SDRAM, SBSRAM, ZBT SRAM, and FIFO)
– 1024M-Byte Total Addressable External Memory Space
• Enhanced Direct-Memory-Access (EDMA) Controller (64 Independent Channels)
• 10/100 Mb/s Ethernet MAC (EMAC)
– IEEE 802.3 Compliant
– Media Independent Interface (MII)
– 8Independent Transmit (TX) Channels and 1 Receive (RX) Channel
• Management Data Input/Output (MDIO)
• Three Configurable Video Ports
– Providing a Glueless I/F to Common Video Decoder and Encoder Devices
– Supports Multiple Resolutions/Video Stds
• VCXOInterpolated Control Port (VIC)
– Supports Audio/Video Synchronization
• Host-Port Interface (HPI) [32-/16-Bit]
• 32-Bit/66-MHz, 3.3-V Peripheral Component Interconnect (PCI) Master/Slave Interface Conforms to PCI Specification 2.2
• Multichannel Audio Serial Port (McASP)
– Eight Serial Data Pins
– Wide Variety of I2S and Similar Bit Stream Formats
– Integrated Digital Audio I/F Transmitter Supports S/PDIF, IEC60958-1, AES-3, CP-430 Formats
• Inter-Integrated Circuit ( I2C Bus™)
• TwoMultichannel Buffered Serial Ports
• Three 32-Bit General-Purpose Timers
• Sixteen General-Purpose I/O (GPIO) Pins
• Flexible PLL Clock Generator
• IEEE-1149.1 (JTAG) Boundary-Scan-Compatible
• 548-Pin Ball Grid Array (BGA) Package (GDK and ZDK Suffixes), 0.8-mm Ball Pitch
• 548-Pin Ball Grid Array (BGA) Package (GNZ and ZNZ Suffixes), 1.0-mm Ball Pitch
• 0.13-µm/6-Level Cu Metal Process (CMOS)
• 3.3-V I/O, 1.2-V Internal (-500)
• 3.3-V I/O, 1.4-V Internal (A-500, A-600,-600,-720)
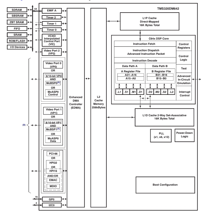
The TMS320C64x™ DSPs (including the TMS320DM642 device) are the highest-performance fixed-point DSP generation in the TMS320C6000™ DSP platform. The TMS320DM642 (DM642) device is based on the second-generation high-performance, advanced VelociTI™ very-long-instruction-word (VLIW) architecture (VelociTI.2™) developed by Texas Instruments (TI), making these DSPs an excellent choice for digital media applications. The C64x™ is a code-compatible member of the C6000™ DSP platform.
With performance of up to 5760 million instructions per second (MIPS) at a clock rate of 720 MHz, the DM642 device offers cost-effective solutions to high-performance DSP programming challenges. The DM642 DSP possesses the operational flexibility of high-speed controllers and the numerical capability of array processors. The C64x™ DSP core processor has 64 general-purpose registers of 32-bit word length and eight highly independent functional units—two multipliers for a 32-bit result and six arithmetic logic units (ALUs)—with VelociTI.2™ extensions. The VelociTI.2™ extensions in the eight functional units include new instructions to accelerate the performance in video and imaging applications and extend the parallelism of the VelociTI™ architecture. The DM642 can produce four 16-bit multiply-accumulates (MACs) per cycle for a total of 2880 million MACs per second (MMACS), or eight 8-bit MACs per cycle for a total of 5760 MMACS. The DM642 DSP also has application-specific hardware logic, on-chip memory, and additional on-chip peripherals similar to the other C6000™ DSP platform devices.
The DM642 uses a two-level cache-based architecture and has a powerful and diverse set of peripherals. The Level 1 program cache (L1P) is a 128-Kbit direct mapped cache and the Level 1 data cache (L1D) is a 128-Kbit 2-way set-associative cache. The Level 2 memory/cache (L2) consists of an 2-Mbit memory space that is shared between program and data space. L2 memory can be configured as mapped memory, cache, or combinations of the two. The peripheral set includes: three configurable video ports; a 10/100 Mb/s Ethernet MAC (EMAC); a management data input/output (MDIO) module; a VCXO interpolated control port (VIC); one multichannel buffered audio serial port (McASP0); an inter-integrated circuit (I2C) Bus module; two multichannel buffered serial ports (McBSPs); three 32-bit general-purpose timers; a user-configurable 16-bit or 32-bit host-port interface (HPI16/HPI32); a peripheral component interconnect (PCI); a 16-pin general-purpose input/output port (GP0) with programmable interrupt/event generation modes; and a 64-bit glueless external memory interface (EMIFA), which is capable of interfacing to synchronous and asynchronous memories and peripherals.
The DM642 device has three configurable video port peripherals (VP0, VP1, and VP2). These video port peripherals provide a glueless interface to common video decoder and encoder devices. The DM642 video port peripherals support multiple resolutions and video standards (e.g., CCIR601, ITU-BT.656, BT.1120, SMPTE 125M, 260M, 274M, and 296M).
These three video port peripherals are configurable and can support either video capture and/or video display modes. Each video port consists of two channels — A and B with a 5120-byte capture/display buffer that is splittable between the two channels.
For more details on the Video Port peripherals, see the TMS320C64x DSP Video Port/VCXO Interpolated Control (VIC) Port Reference Guide (literature number SPRU629).
The McASP0 port supports one transmit and one receive clock zone, with eight serial data pins which can be individually allocated to any of the two zones. The serial port supports time-division multiplexing on each pin from 2 to 32 time slots. The DM642 has sufficient bandwidth to support all 8 serial data pins transmitting a 192-kHz stereo signal. Serial data in each zone may be transmitted and received on multiple serial data pins simultaneously and formatted in a multitude of variations on the Philips Inter-IC Sound (I2S) format.
In addition, the McASP0 transmitter may be programmed to output multiple S/PDIF, IEC60958, AES-3, CP-430 encoded data channels simultaneously, with a single RAM containing the full implementation of user data and channel status fields.
McASP0 also provides extensive error-checking and recovery features, such as the bad clock detection circuit for each high-frequency master clock which verifies that the master clock is within a programmed frequency range.
The VCXO interpolated control (VIC) port provides digital-to-analog conversion with resolution from 9-bits to up to 16-bits. The output of the VIC is a single bit interpolated D/A output.For more details on the VIC port, see the TMS320C64x DSP Video Port/VCXO Interpolated Control (VIC) Port Reference Guide (literature number SPRU629).
The ethernet media access controller (EMAC) provides an efficient interface between the DM642 DSP core processor and the network. The DM642 EMAC support both 10Base-T and 100Base-TX, or 10 Mbits/second (Mbps) and 100 Mbps in either half- or full-duplex, with hardware flow control and quality of service (QOS) support. The DM642 EMAC makes use of a custom interface to the DSP core that allows efficient data transmission and reception. For more details on the EMAC, see the TMS320C6000 DSP Ethernet Media Access Controller (EMAC) / Management Data Input/Output (MDIO) Module Reference Guide (literature number SPRU628).
The management data input/output (MDIO) module continuously polls all 32 MDIO addresses in order to enumerate all PHY devices in the system. Once a PHY candidate has been selected by the DSP, the MDIO module transparently monitors its link state by reading the PHY status register. Link change events are stored in the MDIO module and can optionally interrupt the DSP, allowing the DSP to poll the link status of the device without continuously performing costly MDIO accesses. For more details on the MDIO, see the TMS320C6000 DSP Ethernet Media Access Controller (EMAC) / Management Data Input/Output (MDIO) Module Reference Guide (literature number SPRU628).
The I2C0 port on the TMS320DM642 allows the DSP to easily control peripheral devices and communicate with a host processor. In addition, the standard multichannel buffered serial port (McBSP) can be used to communicate with serial peripheral interface (SPI) mode peripheral devices.
The DM642 has a complete set of development tools which includes: a new C compiler, an assembly optimizer to simplify programming and scheduling, and a Windows® debugger interface for visibility into source code execution
1.1 Device Compatibility
The DM642 device is a code-compatible member of the C6000™ DSP platform.
The C64x™ DSP generation of devices has a diverse and powerful set of peripherals.
For more detailed information on the device compatibility and similarities/differences among the DM642 and other C64x™ devices, see the TMS320DM642 Technical Overview (literature number SPRU615).
- LP8557IEVM_TI(德州仪器)中文资料_英文资料_价格_PDF手册
- LAUNCHXL-F28027F TI(德州仪器)中文资料_英文资料_价格_PDF手册
- DLPDLCR160CPEVM DLP160CP TI(德州仪器)中文资料_英文资料_价格_PDF手册
- THS4631DDAEVM TI(德州仪器)中文资料_英文资料_价格_PDF手册
- DAC3482EVM TI(德州仪器)中文资料_英文资料_价格_PDF手册
- THS4302EVM TI(德州仪器)中文资料_英文资料_价格_PDF手册
- ADS7038Q1EVM-PDK_TI(德州仪器)中文资料_英文资料_价格_PDF手册
- LM3450AEV230V30/NOPB_TI(德州仪器)中文资料_英文资料_价格_PDF手册
- TPS72728DSEEVM-406_TI(德州仪器)中文资料_英文资料_价格_PDF手册
- WL1835MODCOM8A_TI(德州仪器)中文资料_英文资料_价格_PDF手册
- TAS5424BQ1DKDEVM_TI(德州仪器)中文资料_英文资料_价格_PDF手册
- ADS7042EVM-PDK_TI(德州仪器)中文资料_英文资料_价格_PDF手册
- TMDS570LS31HDK_TI(德州仪器)中文资料_英文资料_价格_PDF手册
- VCA8500BOARD_TI(德州仪器)中文资料_英文资料_价格_PDF手册
- DEM-SOT223LDO_TI(德州仪器)中文资料_英文资料_价格_PDF手册
