RTL8211E-VB-CG
1. General Description
The Realtek RTL8211E-VB-CG/RTL8211E-VL-CG/RTL8211EG-VB-CG are highly integrated Ethernet transceivers that comply with 10Base-T, 100Base-TX, and 1000Base-T IEEE 802.3 standards. They provide all the necessary physical layer functions to transmit and receive Ethernet packets over CAT.5 UTP cable.
The RTL8211E-VB(VL)/RTL8211EG-VB uses state-of-the-art DSP technology and an Analog Front End (AFE) to enable high-speed data transmission and reception over UTP cable. Functions such as Crossover Detection & Auto-Correction, polarity correction, adaptive equalization, cross-talk cancellation, echo cancellation, timing recovery, and error correction are implemented in the RTL8211E-VB(VL)/RTL8211EG-VB to provide robust transmission and reception capabilities at 10Mbps, 100Mbps, or 1000Mbps.
Data transfer between MAC and PHY is via the Reduced Gigabit Media Independent Interface (RGMII) or Gigabit Media Independent Interface (GMII) for 1000Base-T, 10Base-T, and 100Base-TX. The RTL8211E-VB and RTL8211EG-VB support 3.3V or 2.5V signaling for RGMII/GMII. The RTL8211E-VL supports 1.5/1.8V signaling for RGMII.
2. Features
·1000Base-T IEEE 802.3ab Compliant
·100Base-TX IEEE 802.3u Compliant
·10Base-T IEEE 802.3 Compliant
·Supports RGMII (RTL8211E-VB, RTL8211E-VL, RTL8211EG-VB)
·Supports GMII (RTL8211EG-VB)
·Supports IEEE 802.3az-2010 (Energy Efficient Ethernet)
·Built-in Wake-on-LAN (WOL)
·Supports Interrupt function
·Supports Parallel Detection
·Crossover Detection & Auto-Correction
·Automatic polarity correction
·Supports PHYRSTB core power Turn-Off
·Baseline Wander Correction
·Supports 120m for CAT.5 cable in 1000Base-T
·Supports 3.3V or 2.5V signaling for RGMII/GMII (RTL8211E-VB, RTL8211EG-VB)
·Supports 1.5V and 1.8V signaling for RGMII (RTL8211E-VL)
·Supports 25/50MHz external crystal or OSC
·Provides 125MHz clock source for MAC
·Provides 3 network status LEDs
·Supports Link Down power saving
·Green Ethernet (1000/100Mbps mode only)
·Built-in switching regulator
·Packages
·48-pin QFN (RTL8211E-VB, RTL8211E-VL)
·64-pin QFN (RTL8211EG-VB)
·0.11µm process with very low power consumption
3. System Applications
·DTV (Digital TV)
·MAU (Media Access Unit)
·CNR (Communication and Network Riser)
· Game Console
·Printer and Office Machine
·DVD Player and Recorder
·Ethernet Hub
·Ethernet Switch
In addition, can be used in any embedded system with an Ethernet MAC that needs a UTP physical connection.
3.1. Application Diagram (RTL8211E-VB)

3.2. Application Diagram (RTL8211EG-VB

3.3. Application Diagram (RTL8211E-VL)

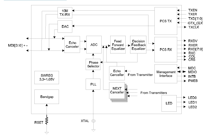
4. Block Diagram

5. Pin Assignments

5.1. RTL8211E-VB/RTL8211E-VL Pin Assignments (48-Pin QFN)
5.2. Package Identification
Green package is indicated by the ‘G’ in GXXXV (Figure 5). The version is shown in the location marked ‘V’.
5.3. RTL8211EG-VB Pin Assignments (64-Pin QFN)

5.4. Package Identification
Green package is indicated by the ‘G’ in GXXXV (Figure 6). The version is shown in the location marked ‘V’.
6. Pin Descriptions
Note that some pins have multiple functions. Refer to the Pin Assignments figure on page 6 (RTL8211E-VB/RTL8211E-VL) and page 7 (RTL8211EG-VB) for a graphical representation.
I: Input
O: Output
P: Power
PU: Internal Pull up during power on reset
G: Ground
LI: Latched Input during Power up or Reset
IO: Bi-directional input and output
PD: Internal Pull down during power on reset
OD: Open Drain
- LP8557IEVM_TI(德州仪器)中文资料_英文资料_价格_PDF手册
- LAUNCHXL-F28027F TI(德州仪器)中文资料_英文资料_价格_PDF手册
- DLPDLCR160CPEVM DLP160CP TI(德州仪器)中文资料_英文资料_价格_PDF手册
- THS4631DDAEVM TI(德州仪器)中文资料_英文资料_价格_PDF手册
- DAC3482EVM TI(德州仪器)中文资料_英文资料_价格_PDF手册
- THS4302EVM TI(德州仪器)中文资料_英文资料_价格_PDF手册
- ADS7038Q1EVM-PDK_TI(德州仪器)中文资料_英文资料_价格_PDF手册
- LM3450AEV230V30/NOPB_TI(德州仪器)中文资料_英文资料_价格_PDF手册
- TPS72728DSEEVM-406_TI(德州仪器)中文资料_英文资料_价格_PDF手册
- WL1835MODCOM8A_TI(德州仪器)中文资料_英文资料_价格_PDF手册
- TAS5424BQ1DKDEVM_TI(德州仪器)中文资料_英文资料_价格_PDF手册
- ADS7042EVM-PDK_TI(德州仪器)中文资料_英文资料_价格_PDF手册
- TMDS570LS31HDK_TI(德州仪器)中文资料_英文资料_价格_PDF手册
- VCA8500BOARD_TI(德州仪器)中文资料_英文资料_价格_PDF手册
- DEM-SOT223LDO_TI(德州仪器)中文资料_英文资料_价格_PDF手册
