CD74HC597M96
具有输入存储的高速 CMOS 逻辑 8 位移位寄存器
Features
• Buffered Inputs [ /Title (CD74 HC597 , CD74 HCT59 7) /Sub ject (High Speed CMOS
• Asynchronous Parallel Load
• Fanout (Over Temperature Range)
- Standard Outputs. . . . . . . . . . . . . . . 10 LSTTL Loads
- Bus Driver Outputs . . . . . . . . . . . . . 15 LSTTL Loads
• Wide Operating Temperature Range . . .-55oC to 125oC
• Balanced Propagation Delay and Transition Times
• Significant Power Reduction Compared to LSTTL Logic ICs
• HC Types- 2V to 6V Operation- High Noise Immunity: NIL = 30%, NIH = 30% of VCC at VCC = 5V
• HCT Types- 4.5V to 5.5V Operation- Direct LSTTL Input Logic Compatibility, VIL= 0.8V (Max), VIH = 2V (Min)
- CMOS Input Compatibility, Il ≤ 1µA at VOL, VOH

Description
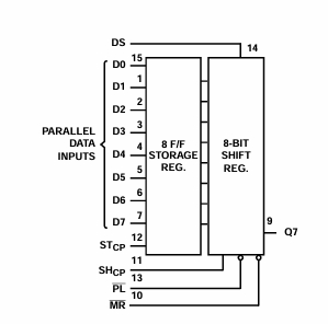
The ’HC597 and CD74HCT597 are high-speed silicon gate CMOS devices that are pin-compatible with the LSTTL 597 devices. Each device consists of an 8-flip-flop input register and an 8-bit parallel-in/serial-in, serial-out shift register. Each register is controlled by its own clock. A “low” on the parallel load input (PL) shifts parallel stored data asynchronously into the shift register. A “low” master input (MR) clears the shift register. Serial input data can also be synchronously shifted through the shift register when PL is high.
- LP8557IEVM_TI(德州仪器)中文资料_英文资料_价格_PDF手册
- LAUNCHXL-F28027F TI(德州仪器)中文资料_英文资料_价格_PDF手册
- DLPDLCR160CPEVM DLP160CP TI(德州仪器)中文资料_英文资料_价格_PDF手册
- THS4631DDAEVM TI(德州仪器)中文资料_英文资料_价格_PDF手册
- DAC3482EVM TI(德州仪器)中文资料_英文资料_价格_PDF手册
- THS4302EVM TI(德州仪器)中文资料_英文资料_价格_PDF手册
- ADS7038Q1EVM-PDK_TI(德州仪器)中文资料_英文资料_价格_PDF手册
- LM3450AEV230V30/NOPB_TI(德州仪器)中文资料_英文资料_价格_PDF手册
- TPS72728DSEEVM-406_TI(德州仪器)中文资料_英文资料_价格_PDF手册
- WL1835MODCOM8A_TI(德州仪器)中文资料_英文资料_价格_PDF手册
- TAS5424BQ1DKDEVM_TI(德州仪器)中文资料_英文资料_价格_PDF手册
- ADS7042EVM-PDK_TI(德州仪器)中文资料_英文资料_价格_PDF手册
- TMDS570LS31HDK_TI(德州仪器)中文资料_英文资料_价格_PDF手册
- VCA8500BOARD_TI(德州仪器)中文资料_英文资料_价格_PDF手册
- DEM-SOT223LDO_TI(德州仪器)中文资料_英文资料_价格_PDF手册
