STM8S003F3P6TR
IC MCU 8BIT 8KB FLASH 20TSSOP
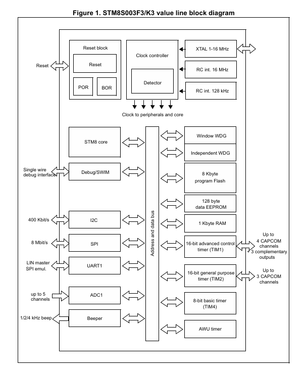
Features
Core
Datasheet-production data
16 MHz advanced STM8 core with Harvardarchitecture and 3-stage pipeline
Extended instruction set
Memories
Program memory: 8 Kbyte Flash memory; dataretention 20 years at 55 °C after 100 cycles
RAM: 1 Kbyte
Data memory:128 bytes true data EEPROM:endurance up to 100 k write/erase cycles
Clock, reset and supply management
2.95 V to 5.5 V operating voltage
Flexible clock control, 4 master clock sourcesLow-power crystal resonator oscillator
Extemal clock input
Internal.user-trimmable 16 MHz RC
Internal low-power 128 kHz RC
Clock security system with clock monitor
Power management
Low-power modes(wait,active-halt, halt)Switch-off peripheral clocks individually
Permanently active.low-consumptionpower-on and power-down reset
Interrupt management
Nested interrupt controller with 32 interruptsUp to 27 external interrupts on 6 vectors
Timers
Advanced control timer: 16-bit.4 CAPCOMchannels,3 complementaryoutputs, dead-timeinsertion and flexible synchronization
16-bit general purpose timer,with 3 CAPCOMchannels (IC, OC or PWM)
8-bit basic timer with 8-bit prescaler
Auto wakeup timer
Window and independent watchdog timers
Communications interfaces
UART with clock output for synchronousoperation,SmartCard,lrDA,LIN master modeSPl interface up to 8 Mbit/s2C interface up to 400 Kbit/s
Analog to digital converter (ADC)10-bit ADC,+ 1 LSB ADC with up to 5multiplexed channels,scan mode and analogwatchdog
I/Os
Up to 28 l/Os on a 32-pin package including 21high-sink outputs
Highly robust l/O design, immune againstcurrent injection
Development supportEmbedded single-wire interface module(SVlM)for fast on-chip programming and non.intrusive debugging

1.Introduction
This datasheet contains the description of the STM8S003F3/K3 value line features, pinout.
electrical characteristics,mechanical data and ordering information.
For complete information on the STM8S microcontroller memory, registers andperipherals, please refer to the STM8S and STM8A microcontroller families referencemanual(RM0016).
For information on programming, erasing and protection of the internal Flash memoryplease refer to the PM0051 (How to program STM8S and STM8A Flash programmemory and data EEPROM).
For information on the debug and SWlM (single wire interface module) refer to theSTM8 SWlM communication protocol and debug module user manual (UM0470).For information on the STM8 core, please refer to the STM8 CPU programming manual(PM0044).
2.Description
The STM8S003F3/K3 value line 8-bit microcontrollers offer 8 Kbytes of Flash programmemory, plus integrated true data EEPROM. They are referred to as low-density devices inthe STM8S microcontroller family reference manual (RM0016).
The STM8S003F3/K3 value line devices provide the following benefits: performance.
robustness and reduced system cost.
Device perfommance and robustness are ensured by true data EEPRÃM supporting up to100000 write/erase cycles, advanced core and peripherals made in a state-of-the-arttechnology at 16 MHz clock frequency, robust l/Os, independent watchdogs with separateclock source, and a clock security system.
The system cost is reduced thanks to a high system integration level with internal clockoscillators,watchdog,and brown-out reset.
Full documentation is offered as well as a wide choice of development tools.

- LP8557IEVM_TI(德州仪器)中文资料_英文资料_价格_PDF手册
- LAUNCHXL-F28027F TI(德州仪器)中文资料_英文资料_价格_PDF手册
- DLPDLCR160CPEVM DLP160CP TI(德州仪器)中文资料_英文资料_价格_PDF手册
- THS4631DDAEVM TI(德州仪器)中文资料_英文资料_价格_PDF手册
- DAC3482EVM TI(德州仪器)中文资料_英文资料_价格_PDF手册
- THS4302EVM TI(德州仪器)中文资料_英文资料_价格_PDF手册
- ADS7038Q1EVM-PDK_TI(德州仪器)中文资料_英文资料_价格_PDF手册
- LM3450AEV230V30/NOPB_TI(德州仪器)中文资料_英文资料_价格_PDF手册
- TPS72728DSEEVM-406_TI(德州仪器)中文资料_英文资料_价格_PDF手册
- WL1835MODCOM8A_TI(德州仪器)中文资料_英文资料_价格_PDF手册
- TAS5424BQ1DKDEVM_TI(德州仪器)中文资料_英文资料_价格_PDF手册
- ADS7042EVM-PDK_TI(德州仪器)中文资料_英文资料_价格_PDF手册
- TMDS570LS31HDK_TI(德州仪器)中文资料_英文资料_价格_PDF手册
- VCA8500BOARD_TI(德州仪器)中文资料_英文资料_价格_PDF手册
- DEM-SOT223LDO_TI(德州仪器)中文资料_英文资料_价格_PDF手册
